France

Medizintechnik-Patent der Woche Additive Fertigungseinrichtung, Verfahren sowie Medizinprodukt hierzu

Quelle: DPMA

Anbieter zum Thema

Heute: eine additive Fertigungseinrichtung, Verfahren sowie Medizinprodukt hierzu. Die Medizintechnik-Industrie ist führend bei der Anmeldung von Patenten. Aus der Fülle an Einreichungen beim Deutschen Patent- und Markenamt wählt die Devicemed-Redaktion wöchentlich ihr Patent der Woche.

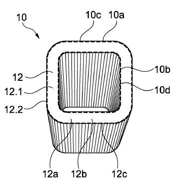
Eine additive Fertigungseinrichtung, Verfahren sowie Medizinprodukt hierzu.(Bild:  DPMA)
Eine additive Fertigungseinrichtung, Verfahren sowie Medizinprodukt hierzu.
(Bild: DPMA)

Die vorliegende Erfindung betrifft eine additive Herstellungseinrichtung (14), insbesondere 3D-Drucker; zur Herstellung wenigstens eines schichtweise ausgebildeten Bauteils (10), mit wenigstens einer Baukammer (16); mit wenigstens einem Extrusionskopf (18), der innerhalb der Baukammer (16) dreidimensional bewegbar ist; und mit wenigstens einer Steuerungs- und/oder Regelungseinrichtung zur Steuerung und/oder Regelung des Extrusionskopfes (18); wobei die Steuerungs- und/oder Regelungseinrichtung eingerichtet ist, den Extrusionskopf (18) derart zu steuern und/oder zu regeln, dass durch den Extrusionskopf (18) wenigstens eine erste Materialschicht (12.1) des Bauteils (10) durch Ausbilden eines oder mehrerer Infill-Materialstränge (12a), insbesondere in wenigstens einer ersten zweidimensionalen Ebene, ausbildbar ist; dass durch den Extrusionskopf (18) wenigstens eine zweite Materialschicht (12.2) des Bauteils (10) durch Ausbilden eines oder mehrerer Infill-Materialstränge (12a) aufbauend auf der ersten Materialschicht (12.1), insbesondere in wenigstens einer zweiten zweidimensionalen Ebene parallel zur ersten zweidimensionalen Ebene, ausbildbar ist; und dass durch den Extrusionskopf (18) die erste und/oder die zweite Materialschicht (12.2) jeweils ausschließlich durch den einen oder die mehreren Infill-Materialstränge (12a) ausbildbar ist oder sind.

Ferner betrifft die vorliegende Erfindung ein additives Herstellungsverfahren, insbesondere 3D-Druckverfahren, zur Herstellung eines schichtweise ausgebildeten Bauteils.

Patentdaten:

  • Aktenzeichen: DE 10 2020 126 764 A1
  • Anmeldetag: 12.10.2020
  • Offenlegungstag: 14.04.2022
  • Anmelder: Kumovis GmbH, 81369 München, DE
  • Erfinder: Leonhardt, Stefan, 81677 München, DE; Pammer, Sebastian, 81679 München, DE

Die Angaben sind dem Depatisnet des Deutschen Patent- und Markenamtes im Original-Wortlaut entnommen.

Lesen Sie auch:

(ID:48205514)

Jetzt Newsletter abonnieren

Verpassen Sie nicht unsere besten Inhalte

Mit Klick auf „Newsletter abonnieren“ erkläre ich mich mit der Verarbeitung und Nutzung meiner Daten gemäß Einwilligungserklärung (bitte aufklappen für Details) einverstanden und akzeptiere die Nutzungsbedingungen. Weitere Informationen finde ich in unserer Datenschutzerklärung. Die Einwilligungserklärung bezieht sich u. a. auf die Zusendung von redaktionellen Newslettern per E-Mail und auf den Datenabgleich zu Marketingzwecken mit ausgewählten Werbepartnern (z. B. LinkedIn, Google, Meta).

Aufklappen für Details zu Ihrer Einwilligung