France

Medizintechnik-Patent der Woche Verfahren, Computerprogrammprodukt und System zum Sequenzieren eines präparierten DNA-Strangs sowie Sensoreinheit

Quelle: DPMA 1 min Lesedauer

Anbieter zum Thema

Heute: ein Verfahren, Computerprogrammprodukt und System zum Sequenzieren eines präparierten DNA-Strangs sowie Sensoreinheit. Die Medizintechnik-Industrie ist führend bei der Anmeldung von Patenten. Aus der Fülle an Einreichungen beim Deutschen Patent- und Markenamt wählt die Devicemed-Redaktion wöchentlich ihr Patent der Woche.

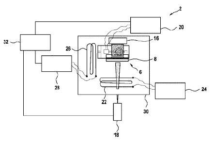
Verfahren, Computerprogrammprodukt und System zum Sequenzieren eines präparierten DNA-Strangs sowie Sensoreinheit(Bild:   Robert Bosch/DPMA)
Verfahren, Computerprogrammprodukt und System zum Sequenzieren eines präparierten DNA-Strangs sowie Sensoreinheit
(Bild: Robert Bosch/DPMA)

Die Erfindung betrifft ein Verfahren zum Sequenzieren eines präparierten DNA-Strangs (4), mit den Schritten:

  • (S200) Bereitstellen des präparierten DNA-Strangs (4) mit Nukleotiden der Arten dATP, dCTP, dGTP und/oder dTTP, wobei zumindest eine der Arten der Nukleotide eine vorbestimmte magnetische Markierung (38) aufweist,
  • (S300) Platzieren des präparierten DNA-Strangs (4) in Mess-Reichweite einer Sensoreinheit (6) mit einer in Wirkverbindung stehenden magneto-optischen Wandlereinheit (8) und einem optischen Sensor (16),
  • (S400) optisches Anregen der magneto-optischen Wandlereinheit (8),
  • (S600) Erfassen zumindest eines Wertes indikativ für ein Fluoreszenz-Signal der magneto-optischen Wandlereinheit (8), und
  • (S700) Zuordnen des erfassten Wertes zu der zumindest einen Art der Nukleotide, die die vorbestimmte magnetische Markierung (38) aufweist.

Patentdaten:

  • Aktenzeichen: DE 10 2021 212 841 A1
  • Anmeldetag: 16.11.2021
  • Offenlegungstag: 17.05.2023
  • Anmelder: Robert Bosch Gesellschaft mit beschränkter Haftung, 70469 Stuttgart, DE
  • Erfinder: Brenneis, Andreas, 71272 Renningen, DE; Grumaz, Christian, 71336 Waiblingen, DE; Hoffmann, Jochen, 71272 Renningen, DE; Fuchs, Tino, 72076 Tübingen, DE; Fomina, Nadezda, Redwood City, CA, US; Stuerner, Felix Michael, 89171 Illerkirchberg, DE; Roelver, Robert, 75365 Calw, DE

Die Angaben sind dem Depatisnet des Deutschen Patent- und Markenamtes im Original-Wortlaut entnommen.

Lesen Sie auch:

(ID:49486350)

Jetzt Newsletter abonnieren

Verpassen Sie nicht unsere besten Inhalte

Mit Klick auf „Newsletter abonnieren“ erkläre ich mich mit der Verarbeitung und Nutzung meiner Daten gemäß Einwilligungserklärung (bitte aufklappen für Details) einverstanden und akzeptiere die Nutzungsbedingungen. Weitere Informationen finde ich in unserer Datenschutzerklärung. Die Einwilligungserklärung bezieht sich u. a. auf die Zusendung von redaktionellen Newslettern per E-Mail und auf den Datenabgleich zu Marketingzwecken mit ausgewählten Werbepartnern (z. B. LinkedIn, Google, Meta).

Aufklappen für Details zu Ihrer Einwilligung