France

Medizintechnik-Patent der Woche Elektrode mit geschütztem Randbereich

Quelle: DPMA 1 min Lesedauer

Anbieter zum Thema

Heute: eine Elektrode mit geschütztem Randbereich. Die Medizintechnik-Industrie ist führend bei der Anmeldung von Patenten. Aus der Fülle an Einreichungen beim Deutschen Patent- und Markenamt wählt die Devicemed-Redaktion wöchentlich ihr Patent der Woche.

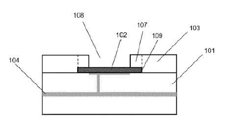
Eine Elektrode mit geschütztem Randbereich(Bild:  Heraeus/DPMA)
Eine Elektrode mit geschütztem Randbereich
(Bild: Heraeus/DPMA)

Die vorliegende Erfindung betrifft eine medizinische Elektrode, die einen Grundkörper umfasst, auf welchem eine elektrisch leitende erste Schicht und eine Deckschicht angeordnet ist, wobei die Deckschicht einen Überhang umfasst, welcher die erste Schicht teilweise bedeckt.

Patentdaten:

  • Aktenzeichen: DE 10 2021 128 427 A1
  • Anmeldetag: 02.11.2021
  • Offenlegungstag: 04.05.2023
  • Anmelder: Heraeus Deutschland GmbH & Co. KG, 63450 Hanau, DE
  • Erfinder: Liess, Andreas, 63450 Hanau, DE; Stoica, Leonard, 63450 Hanau, DE

Die Angaben sind dem Depatisnet des Deutschen Patent- und Markenamtes im Original-Wortlaut entnommen.

Lesen Sie auch:

(ID:49432617)

Jetzt Newsletter abonnieren

Verpassen Sie nicht unsere besten Inhalte

Mit Klick auf „Newsletter abonnieren“ erkläre ich mich mit der Verarbeitung und Nutzung meiner Daten gemäß Einwilligungserklärung (bitte aufklappen für Details) einverstanden und akzeptiere die Nutzungsbedingungen. Weitere Informationen finde ich in unserer Datenschutzerklärung. Die Einwilligungserklärung bezieht sich u. a. auf die Zusendung von redaktionellen Newslettern per E-Mail und auf den Datenabgleich zu Marketingzwecken mit ausgewählten Werbepartnern (z. B. LinkedIn, Google, Meta).

Aufklappen für Details zu Ihrer Einwilligung