France

Medizintechnik-Patent der Woche Um eine Längsachse rotierend antreibbares chirurgisches Werkzeug

Quelle: DPMA 1 min Lesedauer

Anbieter zum Thema

Aus der Fülle an Einreichungen beim Deutschen Patent- und Markenamt (DPMA) präsentiert die Devicemed-Redaktion wöchentlich das „Patent der Woche“. Heute: ein um eine Längsachse rotierend antreibbares chirurgisches Werkzeug.

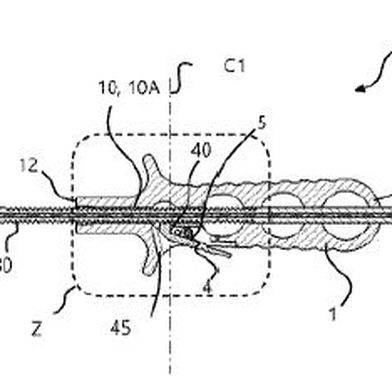
Um eine Längsachse rotierend antreibbares chirurgisches Werkzeug(Bild:  Aesculap AG/DPMA)
Um eine Längsachse rotierend antreibbares chirurgisches Werkzeug
(Bild: Aesculap AG/DPMA)

Die Erfindung betrifft ein um eine Längsachse (4) rotierend antreibbares chirurgisches Werkzeug (2), insbesondere Fräswerkzeug, für ein chirurgisches Instrument, mit einem Werkzeugschaft (6) und mit einem materialabtragenden Arbeitskopf (8) am freien Ende des Werkzeugschafts (6), wobei in einem von dem Werkzeugschaft (6) abgewandten Polbereich (10) des Arbeitskopfs (8) materialabtragende Schneiden (12) mit definierter Geometrie für eine spanabhebende Bearbeitung ausgebildet sind und dass in einem Umfangsbereich (14) des Arbeitskopfs (8) außerhalb des Polbereichs (10) materialabtragende Strukturen (16) für eine nicht spanabhebende schleifende oder schmirgelnde Bearbeitung ausgebildet sind.

Patentdaten:

  • Aktenzeichen: DE 10 2024 105 950 A1
  • Anmeldetag: 01.03.2024
  • Offenlegungstag: 04.09.2025
  • Anmelder: Aesculap AG, 78532 Tuttlingen, DE
  • Erfinder: Pfister, Ralf, 78647 Trossingen, DE; Högerle, Roland-Alois, 78532 Tuttlingen, DE

Die Angaben sind dem Depatisnet des Deutschen Patent- und Markenamtes im Original-Wortlaut entnommen.

Lesen Sie auch:

(ID:50541109)

Jetzt Newsletter abonnieren

Verpassen Sie nicht unsere besten Inhalte

Mit Klick auf „Newsletter abonnieren“ erkläre ich mich mit der Verarbeitung und Nutzung meiner Daten gemäß Einwilligungserklärung (bitte aufklappen für Details) einverstanden und akzeptiere die Nutzungsbedingungen. Weitere Informationen finde ich in unserer Datenschutzerklärung. Die Einwilligungserklärung bezieht sich u. a. auf die Zusendung von redaktionellen Newslettern per E-Mail und auf den Datenabgleich zu Marketingzwecken mit ausgewählten Werbepartnern (z. B. LinkedIn, Google, Meta).

Aufklappen für Details zu Ihrer Einwilligung