France

Medizintechnik-Patent der Woche Trocknungssystem zum Trocknen von medizinischen Instrumenten und Verfahren zu dessen Betrieb

Quelle: DPMA 1 min Lesedauer

Anbieter zum Thema

Aus der Fülle an Einreichungen beim Deutschen Patent- und Markenamt wählt die Devicemed-Redaktion wöchentlich ihr „Patent der Woche“. Heute: ein Trocknungssystem zum Trocknen von medizinischen Instrumenten und Verfahren zu dessen Betrieb.

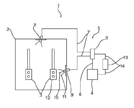
Trocknungssystem zum Trocknen von medizinischen Instrumenten und Verfahren zu dessen Betrieb(Bild:  Olympus Winter & Ibe/DPMA)
Trocknungssystem zum Trocknen von medizinischen Instrumenten und Verfahren zu dessen Betrieb
(Bild: Olympus Winter & Ibe/DPMA)

Die vorliegende Erfindung betrifft ein Trocknungssystem zum Trocknen von medizinischen Instrumenten, umfassend: eine Trocknungskammer, die so eingerichtet ist, dass sie ein medizinisches Instrument aufnimmt, ein System zur Erzeugung von Trocknungsgas, ein Schlauchsystem mit einem Schlauch, durch den Gas aus dem System zur Erzeugung von Trocknungsgas abgeleitet wird, und ein in einer Wand der Trocknungskammer angeordnetes Ventil, an das das Schlauchsystem angeschlossen ist und über das das von dem System zur Erzeugung von Trocknungsgas bereitgestellte Gas in die Trocknungskammer geleitet wird. Das Trocknungssystem ist dadurch gekennzeichnet, dass das Ventil dazu eingerichtet ist, das aus dem Ventil austretende Gas in einer Hauptströmungsrichtung in die Trocknungskammer abzugeben.

Patentdaten:

  • Aktenzeichen: DE 10 2023 101 897 A1
  • Anmeldetag: 26.01.2023
  • Offenlegungstag: 25.07.2024
  • Anmelder: Olympus Winter & Ibe GmbH, 22045 Hamburg, DE
  • Erfinder: Mensing, Lea Marie, 32052 Herford, DE; Goldberg, Gregor, 48231 Warendorf, DE

Die Angaben sind dem Depatisnet des Deutschen Patent- und Markenamtes im Original-Wortlaut entnommen.

Lesen Sie auch:

(ID:50111246)

Jetzt Newsletter abonnieren

Verpassen Sie nicht unsere besten Inhalte

Mit Klick auf „Newsletter abonnieren“ erkläre ich mich mit der Verarbeitung und Nutzung meiner Daten gemäß Einwilligungserklärung (bitte aufklappen für Details) einverstanden und akzeptiere die Nutzungsbedingungen. Weitere Informationen finde ich in unserer Datenschutzerklärung. Die Einwilligungserklärung bezieht sich u. a. auf die Zusendung von redaktionellen Newslettern per E-Mail und auf den Datenabgleich zu Marketingzwecken mit ausgewählten Werbepartnern (z. B. LinkedIn, Google, Meta).

Aufklappen für Details zu Ihrer Einwilligung