France

Medizintechnik-Patent der Woche Stabilisierungsvorrichtung sowie medizinisches System mit Stabilisierungsvorrichtung

Quelle: DPMA 1 min Lesedauer

Anbieter zum Thema

Aus der Fülle an Einreichungen beim Deutschen Patent- und Markenamt (DPMA) präsentiert die Devicemed-Redaktion wöchentlich das „Patent der Woche“. Heute: eine Stabilisierungsvorrichtung sowie ein medizinisches System mit Stabilisierungsvorrichtung.

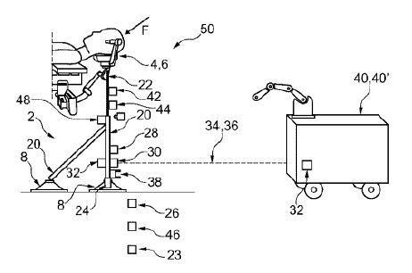
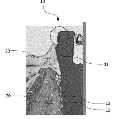
Stabilisierungsvorrichtung sowie medizinisches System mit Stabilisierungsvorrichtung(Bild:  B. Braun New Ventures/DPMA)
Stabilisierungsvorrichtung sowie medizinisches System mit Stabilisierungsvorrichtung
(Bild: B. Braun New Ventures/DPMA)

Die Offenbarung betrifft eine Stabilisierungsvorrichtung (2) zur Stabilisierung einer medizinischen und/oder chirurgischen Vorrichtung (4), vorzugsweise einer Kopfklemme (6), mit einem Befestigungsabschnitt, der eingerichtet ist, die Stabilisierungsvorrichtung (2) an der medizinischen und/oder chirurgischen Vorrichtung (4) zu befestigen, und zumindest einem Vakuum-Spannelement (8), das eingerichtet ist, die Stabilisierungsvorrichtung (2) mit einem Unterdruck (P) an einer Umgebungsfläche (10), beispielsweise einem Fußboden (12), zu befestigen.

Patentdaten:

  • Aktenzeichen: DE 10 2024 114 788 A1
  • Anmeldetag: 27.05.2024
  • Offenlegungstag: 27.11.2025
  • Anmelder: B. Braun New Ventures GmbH, 79110 Freiburg, DE
  • Erfinder: Herr, Sebastian, 79331 Teningen, DE; Viertel, Bjoern, 27798 Hude, DE

Die Angaben sind dem Depatisnet des Deutschen Patent- und Markenamtes im Original-Wortlaut entnommen.

Lesen Sie auch:

(ID:50642148)

Jetzt Newsletter abonnieren

Verpassen Sie nicht unsere besten Inhalte

Mit Klick auf „Newsletter abonnieren“ erkläre ich mich mit der Verarbeitung und Nutzung meiner Daten gemäß Einwilligungserklärung (bitte aufklappen für Details) einverstanden und akzeptiere die Nutzungsbedingungen. Weitere Informationen finde ich in unserer Datenschutzerklärung. Die Einwilligungserklärung bezieht sich u. a. auf die Zusendung von redaktionellen Newslettern per E-Mail und auf den Datenabgleich zu Marketingzwecken mit ausgewählten Werbepartnern (z. B. LinkedIn, Google, Meta).

Aufklappen für Details zu Ihrer Einwilligung