France

Medizintechnik-Patent der Woche Microneedle Array Patch sowie Verfahren und Vorrichtung für ein Microneedle Array Patch

Quelle: DPMA 1 min Lesedauer

Anbieter zum Thema

Heute: ein Microneedle Array Patch sowie Verfahren und Vorrichtung für ein Microneedle Array Patch. Die Medizintechnik-Industrie ist führend bei der Anmeldung von Patenten. Aus der Fülle an Einreichungen beim Deutschen Patent- und Markenamt wählt die Devicemed-Redaktion wöchentlich ihr Patent der Woche.

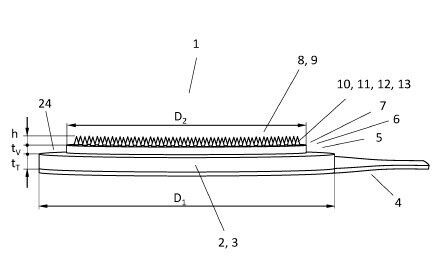
Ein Microneedle Array Patch sowie Verfahren und Vorrichtung für ein Microneedle Array Patch(Bild:  Eco Enterprises/DPMA)
Ein Microneedle Array Patch sowie Verfahren und Vorrichtung für ein Microneedle Array Patch
(Bild: Eco Enterprises/DPMA)

Die Erfindung betrifft ein Microneedle Array Patch (1) mit einem Trägerplättchen (2) aus einem Substrat (3) mit einer Zuglasche (4) und einem Verbund (5) zu einer Verdickung (6) aufweisend eine Sollbruchstelle (7) zu auflösbaren Mikronadeln (8) aus einem Substrat (9) mit einer integrierten Dosis (10) aus einem Impfstoff (11) und mindestens einer weiteren integrierten Dosis (12) aus dem Impfstoff (11) oder einem Impfstoff (13). Die Dosis (12) ist für einen time-lag zur Dosis (10) in Mikrosphären (14) aus einem Hüllmaterial (15) mit einer geringeren Hydrophilität als das Substrat (9) und/oder eines Hüllmaterials (16) der optional verkapselten Dosis (10) verkapselt. Die Erfindung betrifft außerdem Verfahren und Vorrichtung für das Microneedle Array Patch.

Patentdaten:

  • Aktenzeichen: DE 10 2021 121 148 A1
  • Anmeldetag: 13.08.2021
  • Offenlegungstag: 16.02.2023
  • Anmelder: EcoEnterprises GmbH, 71134 Aidlingen, DE
  • Erfinder: Grevener, Christoph, 75391 Gechingen, DE; Lawrence, Petra, 71134 Aidlingen, DE

Die Angaben sind dem Depatisnet des Deutschen Patent- und Markenamtes im Original-Wortlaut entnommen.

Lesen Sie auch:

(ID:49199587)

Jetzt Newsletter abonnieren

Verpassen Sie nicht unsere besten Inhalte

Mit Klick auf „Newsletter abonnieren“ erkläre ich mich mit der Verarbeitung und Nutzung meiner Daten gemäß Einwilligungserklärung (bitte aufklappen für Details) einverstanden und akzeptiere die Nutzungsbedingungen. Weitere Informationen finde ich in unserer Datenschutzerklärung. Die Einwilligungserklärung bezieht sich u. a. auf die Zusendung von redaktionellen Newslettern per E-Mail und auf den Datenabgleich zu Marketingzwecken mit ausgewählten Werbepartnern (z. B. LinkedIn, Google, Meta).

Aufklappen für Details zu Ihrer Einwilligung