France

Medizintechnik-Patent der Woche Laserchirurgisches System zum Schneiden von Hartgewebe

Quelle: DPMA 1 min Lesedauer

Anbieter zum Thema

Aus der Fülle an Einreichungen beim Deutschen Patent- und Markenamt (DPMA) präsentiert die Devicemed-Redaktion wöchentlich das „Patent der Woche“. Heute: ein laserchirurgisches System zum Schneiden von Hartgewebe.

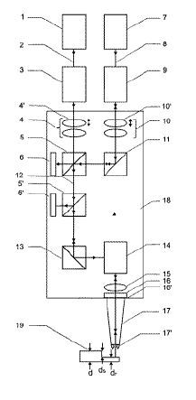
Laserchirurgisches System zum Schneiden von Hartgewebe(Bild:  Fraunhofer-Gesellschaft zur Förderung der angewandten Forschung/DPMA)
Laserchirurgisches System zum Schneiden von Hartgewebe
(Bild: Fraunhofer-Gesellschaft zur Förderung der angewandten Forschung/DPMA)

Die vorliegende Erfindung betrifft ein laserchirurgisches System zum Schneiden von Hartgewebe an einem Objekt, das einen handführbaren Laserapplikator, einen kollaborativen Roboter mit einem Roboterarm, an dem der handführbare Laserapplikator befestigt ist, ein Navigationssystem, mit dem jeweils eine momentane Position des Laserapplikators relativ zu dem Objekt erfasst werden kann, und eine Steuerung für den kollaborativen Roboter aufweist.

Der Laserapplikator weist eine Messeinrichtung auf, mit der eine Schneidtiefe einer mit einem Bearbeitungslaserstrahl erzeugten Schnittfuge und eine Restdicke des Hartgewebes in der Schnittfuge gemessen werden kann. Die Steuerung steuert den kollaborativen Roboter während der Ausführung eines Schnittes auf Basis von Daten des Navigationssystems und der Messeinrichtung so an, dass er über den Roboterarm einen zum Schneiden erforderlichen Schneidabstand des Laserapplikators zum Objekt einhält und eine Vorschubbewegung des Laserapplikators entlang einer Schnittlinie durch den Operateur erst ermöglicht, wenn ein soeben ausgeführter Schnitt vollständig ausgeführt ist.

Patentdaten:

  • Aktenzeichen: DE 10 2024 130 504 A1
  • Anmeldetag: 21.10.2024
  • Offenlegungstag: 23.04.2026
  • Anmelder: Fraunhofer-Gesellschaft zur Förderung der angewandten Forschung eingetragener Verein, 80686 München, DE
  • Erfinder: Lenenbach, Achim, Dr., 52074 Aachen, DE; Bochvarov, Lazar, 52074 Aachen, DE; Giesen, Christina, 52074 Aachen, DE

Die Angaben sind dem Depatisnet des Deutschen Patent- und Markenamtes im Original-Wortlaut entnommen.

Lesen Sie auch:

(ID:50826579)

Jetzt Newsletter abonnieren

Verpassen Sie nicht unsere besten Inhalte

Mit Klick auf „Newsletter abonnieren“ erkläre ich mich mit der Verarbeitung und Nutzung meiner Daten gemäß Einwilligungserklärung (bitte aufklappen für Details) einverstanden und akzeptiere die Nutzungsbedingungen. Weitere Informationen finde ich in unserer Datenschutzerklärung. Die Einwilligungserklärung bezieht sich u. a. auf die Zusendung von redaktionellen Newslettern per E-Mail und auf den Datenabgleich zu Marketingzwecken mit ausgewählten Werbepartnern (z. B. LinkedIn, Google, Meta).

Aufklappen für Details zu Ihrer Einwilligung