France

Medizintechnik-Patent der Woche Hautaufgesetztes Messsystem zur frequentierten Überwachung von in vivo Parametern mittels biomimetischer Membrane

Quelle: DPMA 1 min Lesedauer

Aus der Fülle an Einreichungen beim Deutschen Patent- und Markenamt (DPMA) präsentiert die Devicemed-Redaktion wöchentlich das „Patent der Woche“. Heute: ein Hautaufgesetztes Messsystem zur frequentierten Überwachung von in vivo Parametern mittels biomimetischer Membrane.

Hautaufgesetztes Messsystem zur frequentierten Überwachung von in vivo Parametern mittels biomimetischer Membrane(Bild:  Pheal GmbH/DPMA)
Hautaufgesetztes Messsystem zur frequentierten Überwachung von in vivo Parametern mittels biomimetischer Membrane
(Bild: Pheal GmbH/DPMA)

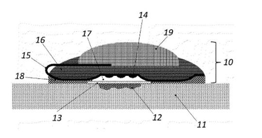
Die vorliegende Erfindung betrifft ein hautaufgesetztes Messsystem (10), welches mittels eines Adhäsions-Haftvermittlers (18) auf eine nicht geöffnete Hautoberfläche (11), eines menschlichen oder tierischen Organismus, geklebt wird. An der Unterseite des hautaufgesetzten Messsystems (10), der geöffneten Hautoberfläche (12) zugewandten Seite, ist der Adhäsions-Haftvermittler (18) partiell freigestellt und eine biomimetische Membrane (13) ist hier angeordnet. Diese biomimetische Membrane (13) verschließt die geöffnete Hautoberfläche (12). Oberhalb der biomimetischen Membrane (13) ist ein Sensor-Kompartiment (17) angeordnet, in welches ein Leiterbahnträger (15) mit mindestens einer aufgesetzten Sensor-Elektrode (14) verläuft. Dieses Teilsystem, bestehend aus Adhäsions-Haftvermittler (18), biomimetischer Membrane (13), Leiterbahnträger (15), Sensor-Kompartiment (17) und Sensor-Elektrode (14), kann in ein Einbettungsmaterial (16), wie beispielsweise ein Polyurethan-Schaummaterial, eingebettet werden. An mindestens einem Ende des Leiterbahnträgers (15) wird eine Auswerteelektronikeinheit (19) elektrisch kontaktiert, welche zur frequenterierten und/oder quasi-kontinuierlichen Auswertung der Sensor-Elektrode (14) verwendet wird, wobei die Messdaten beispielsweise über eine Funkverbindung an ein externes Anzeigegerät weitergeleitet werden können.

Patentdaten:

  • Aktenzeichen: DE 10 2024 100 079 A1
  • Anmeldetag: 03.01.2024
  • Offenlegungstag: 03.07.2025
  • Anmelder: Pheal GmbH, 49076 Osnabrück, DE
  • Erfinder: Kottkamp, Eike Wilhelm, 32312 Lübbecke, DE

Die Angaben sind dem Depatisnet des Deutschen Patent- und Markenamtes im Original-Wortlaut entnommen.

Lesen Sie auch:

(ID:50472433)

Jetzt Newsletter abonnieren

Verpassen Sie nicht unsere besten Inhalte

Mit Klick auf „Newsletter abonnieren“ erkläre ich mich mit der Verarbeitung und Nutzung meiner Daten gemäß Einwilligungserklärung (bitte aufklappen für Details) einverstanden und akzeptiere die Nutzungsbedingungen. Weitere Informationen finde ich in unserer Datenschutzerklärung. Die Einwilligungserklärung bezieht sich u. a. auf die Zusendung von redaktionellen Newslettern per E-Mail und auf den Datenabgleich zu Marketingzwecken mit ausgewählten Werbepartnern (z. B. LinkedIn, Google, Meta).

Aufklappen für Details zu Ihrer Einwilligung