France

Medizintechnik-Patent der Woche Dosierhilfe für eine Spritze und Set mit Spritze und Dosierhilfe

Quelle: DPMA 1 min Lesedauer

Anbieter zum Thema

Aus der Fülle an Einreichungen beim Deutschen Patent- und Markenamt (DPMA) präsentiert die Devicemed-Redaktion wöchentlich das „Patent der Woche“. Heute: eine Dosierhilfe für eine Spritze und Set mit Spritze und Dosierhilfe.

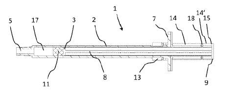
Dosierhilfe für eine Spritze und Set mit Spritze und Dosierhilfe(Bild:  Albomed/DPMA)
Dosierhilfe für eine Spritze und Set mit Spritze und Dosierhilfe
(Bild: Albomed/DPMA)

Zum Einstellen des von einer Spritze (1) abgebbaren Volumens (17) wird eine Dosierhilfe (13) mit einem Distanzstück (14) vorgeschlagen, die mit der Spritze (1) lösbar verbindbar ist, wobei das Distanzstück (14) einen den distalen Vorschub des Kolbens (3) begrenzenden Anschlag (15) für den Kolben (3) bildet und über mindestens eine Sollbruchstelle (18) mit einem manuell brechbaren Teilstück (14‘) verbunden ist.

Patentdaten:

  • Aktenzeichen: DE 10 2024 107 696 A1
  • Anmeldetag: 18.03.2024
  • Offenlegungstag: 18.09.2025
  • Anmelder: Albomed GmbH, 90592 Schwarzenbruck, DE
  • Erfinder: Reese, Sven, 90592 Schwarzenbruck, DE; Borkenstein, Andreas, Dr., Graz, AT

Die Angaben sind dem Depatisnet des Deutschen Patent- und Markenamtes im Original-Wortlaut entnommen.

Lesen Sie auch:

(ID:50561263)

Jetzt Newsletter abonnieren

Verpassen Sie nicht unsere besten Inhalte

Mit Klick auf „Newsletter abonnieren“ erkläre ich mich mit der Verarbeitung und Nutzung meiner Daten gemäß Einwilligungserklärung (bitte aufklappen für Details) einverstanden und akzeptiere die Nutzungsbedingungen. Weitere Informationen finde ich in unserer Datenschutzerklärung. Die Einwilligungserklärung bezieht sich u. a. auf die Zusendung von redaktionellen Newslettern per E-Mail und auf den Datenabgleich zu Marketingzwecken mit ausgewählten Werbepartnern (z. B. LinkedIn, Google, Meta).

Aufklappen für Details zu Ihrer Einwilligung