Medizintechnik-Patent der Woche Chirurgisches Steinfanginstrument
Heute: ein chirurgisches Steinfanginstrument. Die Medizintechnik-Industrie ist führend bei der Anmeldung von Patenten. Aus der Fülle an Einreichungen beim Deutschen Patent- und Markenamt wählt die Devicemed-Redaktion wöchentlich ihr Patent der Woche.
Anbieter zum Thema

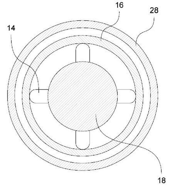
Die Erfindung betrifft ein chirurgisches Steinfanginstrument mit einem Schaftteil und einem in dessen distalen Endbereich angeordneten Greifelement, wobei das Schaftteil einen Schlauch aufweist, der von einem Zugdraht durchlaufen ist, an dessen distalem Ende das Greifelement befestigt ist, das durch axiales Überschieben des Schlauches oder durch axiales Hineinziehen des Greifelements in den Schlauch zusammenfaltbar ist, und wobei am proximalen Endes des Schafteils ein Handgriff mit zwei Griffstücken angeordnet ist, von denen eines mit dem proximalen Ende des Zugdrahtes und das andere mit dem proximalen Ende des Schlauches verbunden ist, dadurch gekennzeichnet, dass das Schaftteil in seinem proximalen Endbereich ein hohlzylinderförmiges Stabilisierungselement umfasst, das ein Überwerfen des während eines medizinischen Eingriffs proximal außerhalb eines Endoskops angeordneten Abschnitts des Schaftteils verhindert.
Patentdaten:
- Aktenzeichen: DE 10 2018 117 238 A1
- Anmeldetag: 17.07.2018
- Offenlegungstag: 23.01.2020
- Anmelder: UROMED Kurt Drews KG, 22113 Oststeinbek, DE
- Erfinder: Janssen, Christopher, 22083 Hamburg, DE
Die Angaben sind dem Depatisnet des Deutschen Patent- und Markenamtes im Original-Wortlaut entnommen.
Lesen Sie auch:
In eigener Sache
Call for Papers „Medizinelektronik unter dem Diktat der MDR“
Medizintechnik-Patent der Woche
Orthese mit zumindest einem schalenartigen Stützteil
Medizintechnik-Patent der Woche
Verfahren und System zur Klassifikation von Materialien mittels maschinellen Lernens
Alle „Medizintechnikpatente der Woche“ finden Sie in unserem Themenkanal Konstruktion.
(ID:46330608)
