France

Medizintechnik-Patent der Woche Chirurgisches Instrument zum Reponieren von Frakturen

Quelle: DPMA 1 min Lesedauer

Anbieter zum Thema

Aus der Fülle an Einreichungen beim Deutschen Patent- und Markenamt (DPMA) präsentiert die Devicemed-Redaktion wöchentlich das „Patent der Woche“. Heute: ein chirurgisches Instrument zum Reponieren von Frakturen.

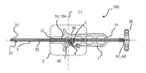
Chirurgisches Instrument zum Reponieren von Frakturen(Bild:  Karl Leibinger/DPMA)
Chirurgisches Instrument zum Reponieren von Frakturen
(Bild: Karl Leibinger/DPMA)

Chirurgisches Instrument (100) zum Reponieren von Frakturen, aufweisend: ein Trägerstück (1) mit einer eine Längsachse (A1) definierenden Führungsstruktur (10), zumindest einen an dem Trägerstück (1) lösbar befestigten Haken (2A, 2B), eine in der Führungsstruktur (10) des Trägerstücks (1) entlang der Längsachse (A1) bewegbar geführte Spindel (3) mit Außengewinde (30) und einem Arbeitsende (31); ein an dem Trägerstück (1) bewegbar gelagertes Spindelgegenstück (4) mit einer Eingriffsstruktur (40), welche zum Eingriff in das Außengewinde (30) der Spindel (3) ausgebildet ist, wobei die Spindel (3) eine zumindest teilweise durchgehende Öffnung (37) entlang der Längsachse (A1) aufweist.

Patentdaten:

  • Aktenzeichen: DE 10 2024 109 929 A1
  • Anmeldetag: 10.04.2024
  • Offenlegungstag: 16.10.2025
  • Anmelder: Karl Leibinger Asset Management GmbH & Co. KG, 78570 Mühlheim, DE
  • Erfinder: Scheu, Volker, 78567 Fridingen, DE; Mühlmann, Cederic, 78532 Tuttlingen, DE

Die Angaben sind dem Depatisnet des Deutschen Patent- und Markenamtes im Original-Wortlaut entnommen.

Lesen Sie auch:

(ID:50594393)

Jetzt Newsletter abonnieren

Verpassen Sie nicht unsere besten Inhalte

Mit Klick auf „Newsletter abonnieren“ erkläre ich mich mit der Verarbeitung und Nutzung meiner Daten gemäß Einwilligungserklärung (bitte aufklappen für Details) einverstanden und akzeptiere die Nutzungsbedingungen. Weitere Informationen finde ich in unserer Datenschutzerklärung. Die Einwilligungserklärung bezieht sich u. a. auf die Zusendung von redaktionellen Newslettern per E-Mail und auf den Datenabgleich zu Marketingzwecken mit ausgewählten Werbepartnern (z. B. LinkedIn, Google, Meta).

Aufklappen für Details zu Ihrer Einwilligung