France

Medizintechnik-Patent der Woche Befestigung einer Heiz- und/oder Temperaturmessvorrichtung in und/oder an einem Medizingerät

Quelle: DPMA 1 min Lesedauer

Anbieter zum Thema

Aus der Fülle an Einreichungen beim Deutschen Patent- und Markenamt (DPMA) präsentiert die Devicemed-Redaktion wöchentlich das „Patent der Woche“. Heute: die Befestigung einer Heiz- und/oder Temperaturmessvorrichtung in und/oder an einem Medizingerät.

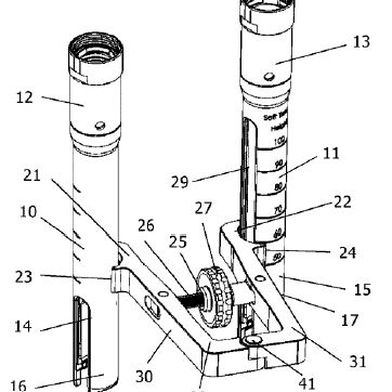
Befestigung einer Heiz- und/oder Temperaturmessvorrichtung in und/oder an einem Medizingerät(Bild:  Löwenstein Medical Technology/DPMA)
Befestigung einer Heiz- und/oder Temperaturmessvorrichtung in und/oder an einem Medizingerät
(Bild: Löwenstein Medical Technology/DPMA)

Eine Befestigungsanordnung (1) für ein Medizingerät umfasst: ein an einem Befestigungsabschnitt des Medizingeräts befestigbares Aufnahmeelement (8); ein in das Aufnahmeelement (8) einführbares Einführelement (6), das eine Heiz- und/oder Temperaturmessvorrichtung (2, 4) zum Erwärmen und/oder Messen einer Temperatur einer Flüssigkeit und/oder eines Gases in einer Flüssigkeitskammer (30) des Medizingeräts umfasst; ein Verbindungselement (10) zum Verbinden des Einführelements (6) mit dem Aufnahmeelement (8), wobei das Verbindungselement (10) eine relativ zum Aufnahmeelement (8) und/oder zum Einführelement (6) zwischen einer Verriegelungsstellung und einer Entriegelungsstellung bewegliche Komponente (12) umfasst, wobei die bewegliche Komponente (12) ausgebildet ist, um das in das Aufnahmeelement (8) eingeführte Einführelement (6) in der Verriegelungsstellung zu verriegeln, sodass ein Entnehmen des Einführelements (6) aus dem Aufnahmeelement (8) nicht möglich ist, und in der Entriegelungsstellung freizugeben, sodass das Entnehmen möglich ist.

Patentdaten:

  • Aktenzeichen: DE 10 2025 106 334 A1
  • Anmeldetag: 19.02.2025
  • Offenlegungstag: 28.08.2025
  • Anmelder: Löwenstein Medical Technology S.A., Luxemburg, LU
  • Erfinder: Göbel, Christof, 22457 Hamburg, DE; Beer, Maike, 22529 Hamburg, DE; Hahn, Henry, 22525 Hamburg, DE; Hein, Stefan, 22529 Hamburg, DE; Sepke, Heiko, 22952 Lütjensee, DE

Die Angaben sind dem Depatisnet des Deutschen Patent- und Markenamtes im Original-Wortlaut entnommen.

Lesen Sie auch:

(ID:50531401)

Jetzt Newsletter abonnieren

Verpassen Sie nicht unsere besten Inhalte

Mit Klick auf „Newsletter abonnieren“ erkläre ich mich mit der Verarbeitung und Nutzung meiner Daten gemäß Einwilligungserklärung (bitte aufklappen für Details) einverstanden und akzeptiere die Nutzungsbedingungen. Weitere Informationen finde ich in unserer Datenschutzerklärung. Die Einwilligungserklärung bezieht sich u. a. auf die Zusendung von redaktionellen Newslettern per E-Mail und auf den Datenabgleich zu Marketingzwecken mit ausgewählten Werbepartnern (z. B. LinkedIn, Google, Meta).

Aufklappen für Details zu Ihrer Einwilligung