France

Medizintechnik-Patent der Woche Mikroskopobjektiv sowie Objektivrevolver und Mikroskop umfassend ein solches Mikroskopobjektiv

Quelle: DPMA 1 min Lesedauer

Anbieter zum Thema

Aus der Fülle an Einreichungen beim Deutschen Patent- und Markenamt wählt die Devicemed-Redaktion wöchentlich ihr „Patent der Woche“. Heute: ein Mikroskopobjektiv sowie Objektivrevolver und Mikroskop umfassend ein solches Mikroskopobjektiv.

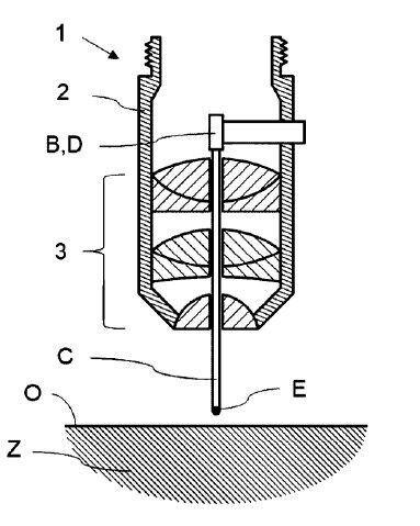
Mikroskopobjektiv sowie Objektivrevolver und Mikroskop umfassend ein solches Mikroskopobjektiv(Bild:  push4impact/DPMA)
Mikroskopobjektiv sowie Objektivrevolver und Mikroskop umfassend ein solches Mikroskopobjektiv
(Bild: push4impact/DPMA)

Die vorliegende Erfindung betrifft ein Mikroskopobjektiv sowie einen Objektivrevolver und ein Mikroskop, die ein solches Mikroskopobjektiv umfassen. Das Mikroskopobjektiv (1) umfasst ein Gehäuse (2) und ein in dem Gehäuse (2) angeordnetes optisches System (3) zur Betrachtung eines im Sichtfeld des Mikroskopobjektivs (1) befindlichen Zielobjekts (Z). Um Funktionen, die für eine verbesserte Betrachtung oder aussagekräftigere Analyse der Oberfläche eines Zielobjekts hilfreich sein können bzw. diese erst ermöglichen zu realisieren, ohne die Dimensionen bzw. den Platzbedarf des Objektivs signifikant zu erhöhen, umfasst das Mikroskopobjektiv (1) wenigstens ein zur Interaktion mit dem Zielobjekt (Z) dienendes Arbeitsorgan (C), das sich wenigstens teilweise im Gehäuse (2) des Mikroskopobjektivs (1) erstreckt.

Patentdaten:

  • Aktenzeichen: DE 10 2022 129 094 A1
  • Anmeldetag: 03.11.2022
  • Offenlegungstag: 08.05.2024
  • Anmelder: push4impact GmbH, 79100 Freiburg, DE
  • Erfinder: Simon, Markus, Dr., 79211 Denzlingen, DE; Eisele, David, Dr., 79426 Buggingen, DE; Mader, Anja, 70188 Stuttgart, DE

Die Angaben sind dem Depatisnet des Deutschen Patent- und Markenamtes im Original-Wortlaut entnommen.

Lesen Sie auch:

(ID:50030666)

Jetzt Newsletter abonnieren

Verpassen Sie nicht unsere besten Inhalte

Mit Klick auf „Newsletter abonnieren“ erkläre ich mich mit der Verarbeitung und Nutzung meiner Daten gemäß Einwilligungserklärung (bitte aufklappen für Details) einverstanden und akzeptiere die Nutzungsbedingungen. Weitere Informationen finde ich in unserer Datenschutzerklärung. Die Einwilligungserklärung bezieht sich u. a. auf die Zusendung von redaktionellen Newslettern per E-Mail und auf den Datenabgleich zu Marketingzwecken mit ausgewählten Werbepartnern (z. B. LinkedIn, Google, Meta).

Aufklappen für Details zu Ihrer Einwilligung