France

Medizintechnik-Patent der Woche Chirurgischer Roboterarm, chirurgisches System und Verfahren zur Steuerung eines chirurgischen Roboterarms

Quelle: DPMA 1 min Lesedauer

Anbieter zum Thema

Aus der Fülle an Einreichungen beim Deutschen Patent- und Markenamt wählt die Devicemed-Redaktion wöchentlich ihr „Patent der Woche“. Heute: ein chirurgischer Roboterarm, ein chirurgisches System und ein Verfahren zur Steuerung eines chirurgischen Roboterarms.

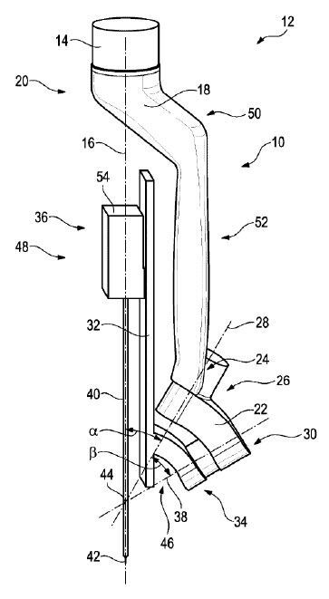
Chirurgischer Roboterarm, chirurgisches System und Verfahren zur Steuerung eines chirurgischen Roboterarms(Bild:  Karl Storz/DPMA)
Chirurgischer Roboterarm, chirurgisches System und Verfahren zur Steuerung eines chirurgischen Roboterarms
(Bild: Karl Storz/DPMA)

Chirurgischer Roboterarm (10) mit einem ersten Arm (18), einem zweiten Arm (22) und einem dritten Arm (32), wobei an einem zweiten Ende (36) des dritten Arms (32) ein Arbeitselement (40) mit einer Längsachse (42) angeordnet ist, sich die erste Achse (16), die zweite Achse (28), die dritte Achse (38) und die Längsachse (42) in einem gemeinsamen Ruhepunkt (44) schneiden, und bei einer Verlagerung von einem oder mehreren des ersten, zweiten oder dritten Arms (18, 22, 32) der Ruhepunkt ortsfest bleibt. Ferner werden ein chirurgisches System (12) mit einer Halterung (14) und einem chirurgischen Roboterarm (10) und ein Verfahren zum Steuern eines chirurgischen Roboterarms (10) offenbart.

Patentdaten:

  • Aktenzeichen: DE 10 2022 131 661 A1
  • Anmeldetag: 30.11.2022
  • Offenlegungstag: 06.06.2024
  • Anmelder: Karl Storz SE & Co. KG, 78532 Tuttlingen, DE
  • Erfinder: Hoffmann, Martin, 78532 Tuttlingen, DE; Wagner, Sebastian, 78532 Tuttlingen, DE

Die Angaben sind dem Depatisnet des Deutschen Patent- und Markenamtes im Original-Wortlaut entnommen.

Lesen Sie auch:

(ID:50057378)

Jetzt Newsletter abonnieren

Verpassen Sie nicht unsere besten Inhalte

Mit Klick auf „Newsletter abonnieren“ erkläre ich mich mit der Verarbeitung und Nutzung meiner Daten gemäß Einwilligungserklärung (bitte aufklappen für Details) einverstanden und akzeptiere die Nutzungsbedingungen. Weitere Informationen finde ich in unserer Datenschutzerklärung. Die Einwilligungserklärung bezieht sich u. a. auf die Zusendung von redaktionellen Newslettern per E-Mail und auf den Datenabgleich zu Marketingzwecken mit ausgewählten Werbepartnern (z. B. LinkedIn, Google, Meta).

Aufklappen für Details zu Ihrer Einwilligung